-
球鐵閥體
QT450-10球鐵閥體、球化率3 級,抗拉強度450Mpa,延展率10%以上。
-
研磨密封面
蝶板采用日本進口的平面磨床磨削密封面,粗糙度0.8,保證其光潔度和平面度。
-
硫化橡膠閥座
橡膠與閥體的粘合強度高于1.732MPa, 可有效避免閥座在使用過程中的脫落現象。
-
線密封閥座
由面密封升級為線密封,密封性能更好,可實現靜壓0泄露。
-
鎳基合金X-750彈簧
鎳基合金鋼是最適合做彈簧的一種材料,耐腐蝕性和高溫穩定性好,扭矩穩定可靠,可提供材質報告。
-
硬膜防銹油處理內壁
上下法蘭和閥體內壁采用硬膜防銹油處理,避免噴涂后橡膠硫化過程中對漆膜的損傷,和二次高溫對橡膠閥座造成的老化。
-
阿克蘇環氧噴涂外壁
閥體噴涂采用阿克蘇的環氧樹脂塑粉,附著力強,劃格法0-1級通過;沖擊強度高,50kg?cm正沖通過。
-
密紋水線法蘭連接面
上下法蘭密紋水線,密封性能更好。
-
精美包裝
DN200以下口徑采用POF熱縮膜膜獨立包裝,內置干燥劑,防潮、防淋、隔灰塵。
產品優點
產品介紹
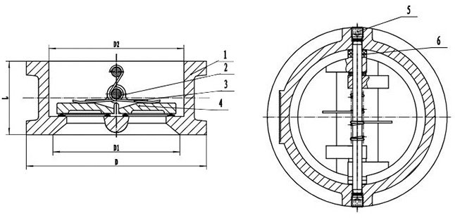
蝶式止回閥由閥體、閥瓣、閥桿、扭簧和橡膠密封圈組成,蝶式閥瓣在流體壓力作用下開啟,流體從進口端流向出口端,當進口段壓力低于出口端時,閥瓣在流體壓差和扭簧的作用下自動關閉,起到了防止液體倒流的作用。該閥門主要用于消防、石化、輕紡、造紙以及高層建筑等行業給排水管網井或水泵出口處,是水泵停機時防止管路介質倒流壓差,形成水錘沖擊,水泵倒轉的安全裝置。
產品參數
H77X-16蝶式止回閥參數信息
| 執行標準 | 名稱 | 設計及制造 | 結構長度 | 試壓標準 | ||
| 參照標準 | JB/T 8937-2010 | GB/T 12221-2005 | GB/T 13927-2008 | |||
| 零部件信息 | 名稱 | 1-閥體 | 2-閥軸 | 3-彈簧 | 4-閥瓣 | 6-隔環 |
| 材質及說明 | DI | 304 | 304 | DI | PTFE | |
| 尺寸信息 | DN | NPS(英寸) | L±1.5 | D | D1 | D2 |
| 50 | 2'' | 43 | 101 | 58 | 65 | |
| 65 | 2 1/2'' | 46 | 118 | 75 | 80 | |
| 80 | 3'' | 64 | 132 | 85 | 94 | |
| 100 | 4'' | 64 | 157 | 105 | 117 | |
| 125 | 5'' | 70 | 186 | 125 | 145 | |
| 150 | 6'' | 76 | 213 | 165 | 170 | |
| 200 | 8'' | 89 | 272 | 215 | 224 | |
| 250 | 10'' | 114 | 328 | 260 | 265 | |
| 300 | 12'' | 114 | 378 | 300 | 310 | |
產品專利
線密封蝶止專利 CN201822248861.8
般德閥門專利蝶止,密封采用環形線性密封,提高了閥門的密封效果和工作的可靠性。
蝶止外觀專利 CN201830771192.5
采用般德閥門專利蝶止外觀。
語言:簡體中文
English
Русский
簡體中文












