-
精密鑄造閥體
閥體為精密鑄造閥體,材質WCB達標、外觀精細,無沙眼。
-
外觀精美
內件數控機床加工,外觀加工后進行2次拋丸,外觀美觀。
-
實心重體
閥體均為實心重體。
-
閥座耐磨
閥座堆焊cr系不銹鋼,增加閥座耐磨性。
-
倒密封處理
閥蓋和閥桿接觸的地方做倒密封處理,防止外漏。
-
旋風銑加工
閥桿采用旋風銑加工,避免閥桿彎曲導致開關困難。
-
雙層壓力檢測
每臺閥門出廠均按照國家標準做殼體、密封雙層壓力檢測。
-
-
產品優點
產品介紹
J41H鑄鋼截止閥屬于強制密封式的閥門,閥門在關閉時,向閥瓣施加壓力,以強制密封面不泄漏。當介質由閥瓣下方進入閥內時,操作力所需要克服的阻力,是閥桿和填料的磨擦力與由介質的壓力所產生的推力,關閥門的力比開閥門的力大,所以閥桿的直徑要大,否則會發生閥桿頂彎的故障。近年來,從自密封的閥門出現后,截止閥的介質流向就改由閥瓣上方進入閥腔,這時在介質壓力作用下,關閥門的力小,而開閥門的力大,閥桿的直徑可以相應地減少。同時,在介質作用下,這種形式的閥門也較嚴密。截止閥的流向,一律采用自上而下。
產品參數
| 名稱 | 設計及制造 | 結構長度 | 試壓標準 | 連接法蘭尺寸 |
| 參照標準 | GB/T 12235 | GB/T 12221 | GB/T 13927 | JB/T 79 |
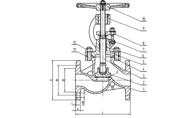
| 名稱 | 1-閥體 | 2-閥板 | 3-閥桿 | A-閥座密封 | 10-手輪 |
| 材質及說明 | 鑄鋼WCB | 鑄鋼WCB | 2Cr13 | 13Cr | 球墨鑄鐵 |
| DN | NPS(英寸) | L | D | D1 | Z-φd |
| 50 | 2'' | 230 | 160 | 125 | 4-18 |
| 65 | 2 1/2'' | 290 | 180 | 145 | 4-18 |
| 80 | 3'' | 310 | 195 | 160 | 8-18 |
| 100 | 4'' | 350 | 215 | 180 | 8-18 |
| 125 | 5'' | 400 | 245 | 210 | 8-18 |
| 150 | 6'' | 480 | 280 | 240 | 8-22 |
| 200 | 8'' | 600 | 335 | 295 | 12-22 |
| 250 | 10'' | 650 | 405 | 355 | 12-26 |
| 300 | 12'' | 750 | 460 | 410 | 12-26 |
語言:簡體中文
English
Русский
簡體中文












