-
閥體材質精密鑄造
閥體采用QT450-10材料進行精密鑄造,抗拉強度450Mpa,延展率大于10%,不易拉裂、凍裂。
-
閥體內外采用粉沫環氧樹脂靜電涂裝
閥體內外采用粉沫環氧樹脂靜電涂裝,噴涂厚度達到250μm,有效防止閥體與介質接觸造成的腐蝕與生銹、外觀漂亮。
-
橡膠瓣采用全流面積式設計
橡膠瓣由鋼板、鋼棒及強化尼龍布做襯底,外層披覆橡膠制成,全流面積式設計,不易堆積雜物。
-
-
-
-
-
-
產品優點
產品介紹
H44X橡膠瓣止回閥采用全流面積設計,具有水頭損失小,不易堆積雜物,維修簡便等特性。閥門中的橡膠瓣由鋼板、鋼棒及強化尼龍布做襯底,外層披覆橡膠制成,閥瓣開關壽命可達100萬次。該閥門適用于臥式安裝的給排水系統,可安裝于水泵出水口處,以防止倒流及水錘對泵損害;還可安裝在蓄水池進出水管的旁通管上,以防止池水倒流至給水系統中。
產品參數
H44X橡膠瓣止回閥參數信息
| 閥門執行標準 | 名稱 | 設計及制造 | 結構長度 | 試壓標準 | 法蘭標準 | |
| 參照標準 | GB/T 13932-2016 | —— | GB/T 13927-2008 | GB/T 17241.6-2008 | ||
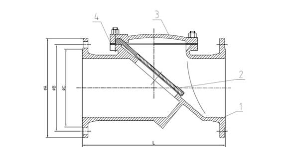
| 主要零部件信息 | 名稱 | 1-閥體 | 2-閥瓣 | 3-閥蓋 | 4-墊片 | |
| 材質及說明 | 球墨鑄鐵DI | 橡膠組合件 | 球墨鑄鐵DI | 纏繞石墨鋼帶 | ||
| 尺寸信息 | DN | NPS(英寸) | ΦA | ΦB | ΦC | L |
| 50 | 2'' | 165 | 125 | 99 | 205 | |
| 65 | 2 1/2'' | 185 | 145 | 118 | 225 | |
| 80 | 3'' | 200 | 160 | 132 | 243 | |
| 100 | 4'' | 220 | 180 | 156 | 290 | |
| 125 | 5'' | 250 | 210 | 184 | 298 | |
| 150 | 6'' | 285 | 240 | 211 | 356 | |
| 200 | 8'' | 340 | 295 | 266 | 435 | |
| 250 | 10'' | 395 | 350 | 319 | 505 | |
| 300 | 12'' | 445 | 400 | 370 | 560 | |
| 350 | 14'' | 505 | 460 | 429 | 620 | |
| 400 | 16'' | 565 | 515 | 480 | 655 | |
| 450 | 18'' | 615 | 565 | 530 | 700 | |
| 500 | 20'' | 670 | 620 | 582 | 750 | |
| 600 | 24'' | 780 | 725 | 682 | 900 | |
語言:簡體中文
English
Русский
簡體中文












