-
閥體外觀精細
閥體全部為精密鑄造閥體,外觀精細,無沙眼
-
閥體流線型設計
閥體采用流線型設計,流動阻力更小,流動面積更大
-
304材質濾網
濾網采用304不銹鋼材質,可根據要求提供不同精度的濾網
-
滿焊工藝濾網
濾網采用滿焊工藝,濾網開孔率達到80%,耐磨和耐蝕性能提升,同時避免濾網沖開和顆粒物泄漏
-
出廠前雙層壓力檢測
每臺閥門出廠均按照國家標準做殼體、密封雙層壓力檢測
-
-
-
-
產品優點
產品介紹
般德Y型過濾器GL41H-16C產品配置:法蘭連接,WCB閥體,304濾網;應用領域包括市政建設、水利工程、電力、給排水、水處理、化工等。歡迎您詢價訂購。
產品參數
| 執行標準 | 名稱 | 設計及制造 | 檢驗標準 | 試壓標準 | 法蘭標準 | ||||
| 參照標準 | SH/T 3411-1999 | GB/T 14382-2008 | GB/T 13927-2008 API 598 |
HG/T 20592-2009 HG/T 20615-2009 |
|||||
| 主要零部件信息 | 名稱 | 閥體 | 濾網 | 端蓋 | |||||
| 材質 | WCB | 304 | WCB | ||||||
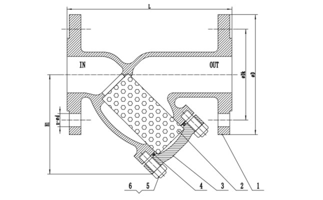
| 尺寸信息 | 公稱尺寸 | L | PN16 | Class150 | |||||
| DN | NPS(英寸) | ΦD | ΦDk | n-φd | ΦD | ΦDk | n-φd | ||
| 50 | 2'' | 215 | 165 | 125 | 4-18 | 150 | 120.7 | 4-18 | |
| 65 | 2 1/2'' | 250 | 185 | 145 | 8-18 | 180 | 139.7 | 4-18 | |
| 80 | 3'' | 285 | 200 | 160 | 8-18 | 190 | 152.4 | 4-18 | |
| 100 | 4'' | 305 | 220 | 180 | 8-18 | 230 | 190.5 | 8-18 | |
| 125 | 5'' | 345 | 250 | 210 | 8-18 | 255 | 215.9 | 8-22 | |
| 150 | 6'' | 385 | 285 | 240 | 8-22 | 280 | 241.3 | 8-22 | |
| 200 | 8'' | 487 | 340 | 295 | 12-22 | 345 | 298.5 | 8-22 | |
| 250 | 10'' | 545 | 405 | 355 | 12-26 | 405 | 362 | 12-26 | |
| 300 | 12'' | 605 | 460 | 410 | 12-26 | 485 | 431.8 | 12-26 | |
| 350 | 14'' | 680 | 520 | 470 | 16-26 | 535 | 476.3 | 12-30 | |
| 400 | 16'' | 757 | 580 | 525 | 16-30 | 595 | 539.8 | 16-30 | |
| 450 | 18'' | 850 | 640 | 585 | 20-30 | 635 | 577.9 | 16-33 | |
| 500 | 20'' | 895 | 715 | 650 | 20-33 | 700 | 635 | 20-33 | |
| 600 | 24'' | 1070 | 840 | 770 | 20-36 | 815 | 749.3 | 20-36 | |
語言:簡體中文
English
Русский
簡體中文












